Abstract For Hvac System


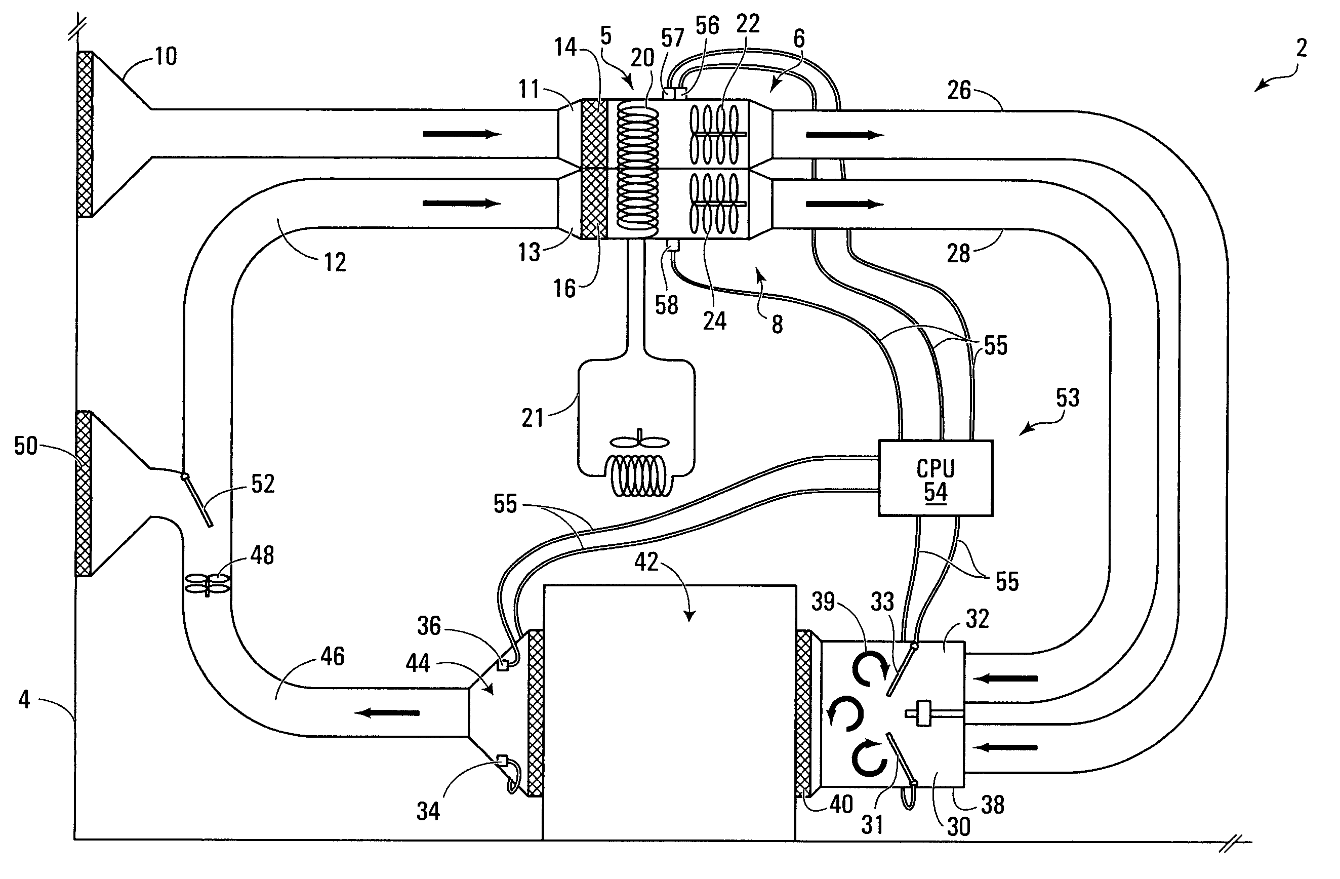
Air Dryer Using Waste Heat Of Hvac Systems Code Development And

Air Dryer Using Waste Heat Of Hvac Systems Code Development And

Hvac In Multifamily Buildings Building Science Corp

Hvac In Multifamily Buildings Building Science Corp

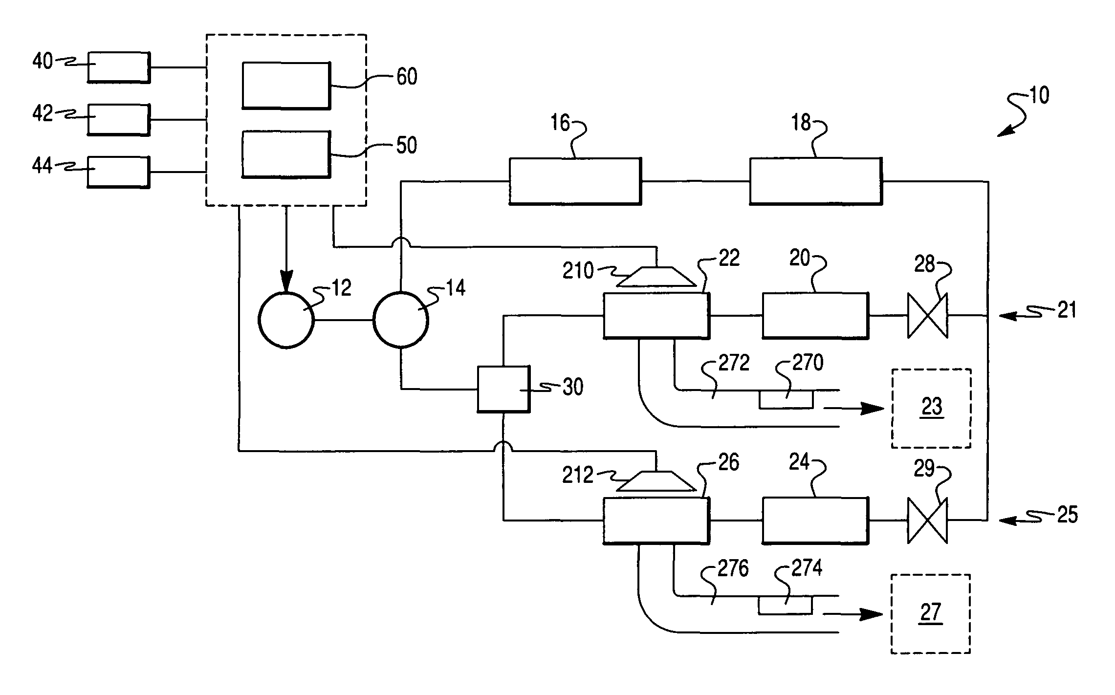
Analytics For Us Patent No 7797958 Hvac System Controlled By A

Analytics For Us Patent No 7797958 Hvac System Controlled By A

Https Www Tandfonline Com Doi Pdf 10 1080 14733315 2009 11683824 Needaccess True

Https Www Tandfonline Com Doi Pdf 10 1080 14733315 2009 11683824 Needaccess True

Http Www Irbnet De Daten Iconda Cib Dc26295 Pdf

Http Www Irbnet De Daten Iconda Cib Dc26295 Pdf