Abstract Characteristics Of A Person


Characteristics Of Successful Salespeople By Dave Kahle

Characteristics Of Successful Salespeople By Dave Kahle

Chapter 11 Measurement Of Definition Hva Studeersnel

Chapter 11 Measurement Of Definition Hva Studeersnel

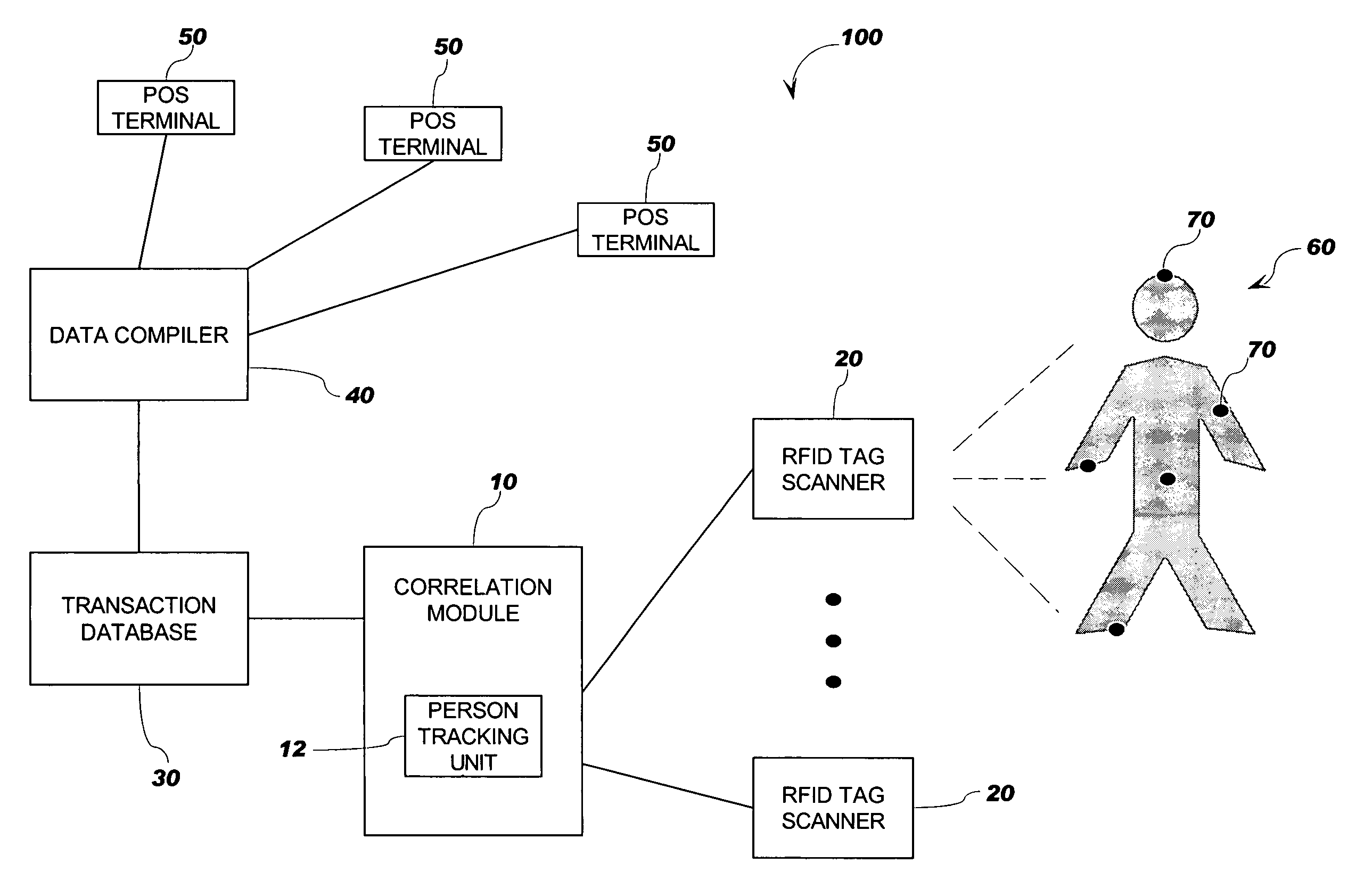
Analytics For Us Patent No 7076441 Identification And Tracking

Analytics For Us Patent No 7076441 Identification And Tracking

Characteristics Of Tianeptine Exposures Reported To The National

Characteristics Of Tianeptine Exposures Reported To The National

Error Rates Of Human Reviewers During Abstract Screening In

Error Rates Of Human Reviewers During Abstract Screening In